- Produktbeskrivning
-
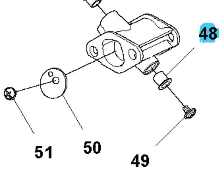
Bussning 5010220-01
Reservdel från Husqvarna
Passar till bl.a:
Husqvarna 345FR
Husqvarna 545F
Husqvarna 545FR
Husqvarna 545FX / T
Husqvarna 545FX/T/Autotune
Husqvarna 545RX / T / Autotune
Husqvarna 545RX/T/Autotune
Jonsered
Jonsered CC2245
Jonsered FC2245
Jonsered FC2245W
Vill du söka bland Husqvarna sprängskisser & reservdelar? Använd då vår reservdelskatalog. Tryck här för att komma till reservdelskatalogen. Tänk på att du alltid ska säkerställa att artikelnumret blir rätt med hjälp av sprängskissen för din maskin. - Specifikationer
-
Tillverkarens artikelnummer: 501 02 20-01 , 501022001 - Filer
Prishistorik
Nedan finner du prishistorik för denna produkten de senaste 30 dagarna.
Vårt lägsta pris 1-30 dagar innan sänkning:

Sweden - SEK
Uk - GBP


