- Produktbeskrivning
-
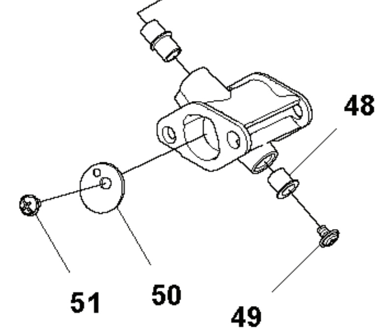
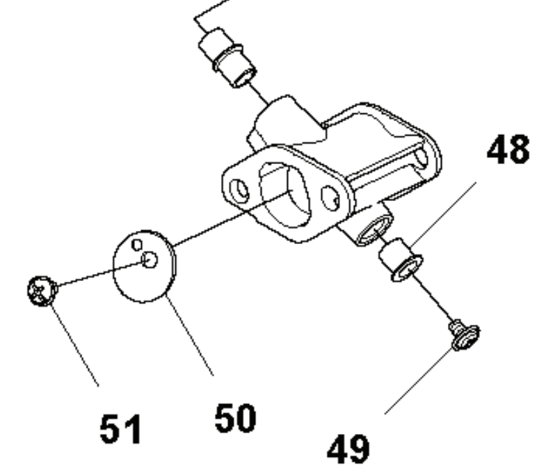
Ventil 5225435-01
Reservdel från Husqvarna
Passar till bl.a:
Husqvarna 345FR
Husqvarna 545F
Husqvarna 545FR
Husqvarna 545FX / T
Husqvarna 545FX/T/Autotune
Husqvarna 545RX / T / Autotune
Husqvarna 545RX/T/Autotune
Jonsered
Jonsered CC2245
Jonsered FC2245
Jonsered FC2245W
Vill du söka bland Husqvarna sprängskisser & reservdelar? Använd då vår reservdelskatalog. Tryck här för att komma till reservdelskatalogen. Tänk på att du alltid ska säkerställa att artikelnumret blir rätt med hjälp av sprängskissen för din maskin. - Specifikationer
-
Tillverkarens artikelnummer: 522 54 35-01 , 522543501 - Filer
Prishistorik
Nedan finner du prishistorik för denna produkten de senaste 30 dagarna.
Vårt lägsta pris 1-30 dagar innan sänkning:

Uk - GBP
Sweden - SEK


