Are you in the right place?
Select country
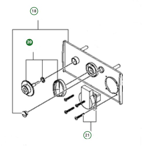
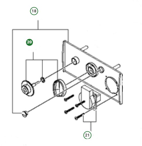
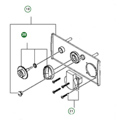
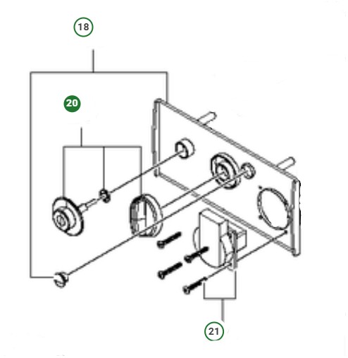
SWITCH SWITCH KNOB KIT S 25 i gruppen  hos Gräsklipparbutiken (5992815-02)
SWITCH SWITCH KNOB KIT S 25
Artnr: 5992815-02

SWITCH SWITCH KNOB KIT S 25

999 kr
 
Lägg i varukorgen
  • Produktbeskrivning
  • Specifikationer
  • Filer
Logga in